鈦合金作為上世紀50年代興起的重要金屬材料,具有比強度高、耐腐蝕性強、耐高低溫性好等優點,在航空航天等領域得到了廣泛應用。如飛機蒙皮、隔熱板、導風板等非承力結構件,以及隔框、梁、襟等結構件,隨著飛機機型不斷更新換代,鈦合金用量在飛機中的占比不斷提升。如我國C919大飛機鈦合金質量占比為9.3%,新一代大飛機C929鈦合金質量預計將增加至15%[1-2]。
然而,大多數鈦合金室溫下成形困難且質量不高,通常采用加熱方式降低鈦合金變形抗力、提高塑性變形能力[3-4]。宗影影等對BT14鈦合金進行了高溫壓縮實驗,結果表明,應力隨著溫度的升高顯著下降。丁嘉健等[6]對TC4鈦合金進行拉伸實驗,結果表明,室溫下材料伸長率為10%、抗拉強度為1100MPa,當溫度升至800℃時,伸長率提高至17%,抗拉強度降至100MPa。謝洪志等[7]對Ti65鈦合金板材在740~840℃進行了拉伸實驗,結果表明,隨著溫度升高,應力峰值減小、應變率增大,斷裂主要由微孔聚集引起,溫度越高等軸韌窩數量越多,越有利于塑性的提高。
另外,成形過程中對坯料或模具施加一定能量的超聲振動,也可以提高材料塑性變形能力和成形質量[8]。ZHAO等[9]在Ti-6Al-4V鈦合金滾壓過程施加超聲振動后,不僅降低了材料流動應力,同時還提高了滾壓質量。GAO等[10]在鈦合金TA2板材脹形過程中施加超聲振動后,不僅減小摩擦對脹形過程的影響,還提高了板材的成形極限。與此同時,高溫條件下加載速度對鈦合金的塑性也有影響[11]。蔡剛[12]進行的BT25鈦合金高溫壓縮實驗,結果表明,降低加載速度可以減小流變應力。楊曉明[13]進行的TC4鈦合金高溫壓縮實驗結果也表明,降低加載速度可降低成形力,提高斷裂應變。
為了探索變形溫度、超聲振動與加載速率對鈦合金的作用規律,本文作者開展了BT14鈦合金板材在溫度/超聲/速度復合能場下的拉伸性能研究,分析了復合能場對鈦合金板材的抗拉強度、伸長率等力學性能及顯微組織的影響規律。
1、實驗材料、裝置及方案
1.1材料
BT14(Ti-4.5Al-3Mo-1V)是一種可通過熱處理強化的α+β型結構鈦合金,室溫下抗拉強度可達1100MPa;另外,BT14鈦合金還具備較好的焊接性能和熱穩定性,主要應用于航空航天領域的高強度結構件、緊固件及高壓容器等。BT14鈦合金化學成分見表1。
表1BT14化學成分(質量分數/%)
Table1 ChemicalcompositionofBT14(massfraction/%)
| 成分 | 質量 | 成分 | 質量 |
| Al | 4.50 | 0 | 0.12 |
| Mo | 3.10 | Zr | 0.10 |
| V | 1.10 | Fe | 0.06 |
| Si | <0.15 | Ti | 余量 |
1.2裝置
實驗裝置如圖1所示。在傳統拉伸實驗機上,通過增加溫度控制裝置、超聲振動裝置實現不同溫度、超聲振動及拉伸速率下的變形。其中,溫度控制裝置由溫控控制器、加熱爐、循環水冷等組成,超聲振動裝置由變幅桿、換能器、超聲波發生器等組成。

1.3方案
實驗用坯料尺寸如圖2所示。厚度為0.8mm??紤]到BT14鈦合金的使用溫度及材料性能,實驗溫度分別為500,550,600,650℃;超聲振動頻率為20kHz,功率分別為1.0,1.2,1.4kW;拉伸速度分別為0.5,1.0,2.0,3.0mm/min。具體實驗方案見表2。每個實驗重復6次,取平均值。

表2實驗方案
Table2 Experimentalscheme
| 能場 | 溫度/℃ | 超聲振動功率/kW | 速度/(mm·min-1) |
| 500 | 1 | ||
| 溫度 | 550 | 一| | 1 |
| 600 | 一 | 1 | |
| 650 | 一 | 1 | |
| 500 | 0,1.0,1.2,1.4 | 1 | |
| 溫度/超聲 | 550 | 0,1.0,1.2,1.4 | 1 |
| 600 | 0,1.0,1.2,1.4 | 1 | |
| 650 | 0,1.0,1.2,1.4 | 1 | |
| 溫度/超聲/速度 | 500 | 0,1.0,1.2,1.4 | 0.5,1,2,3 |
| 600 | 0,1.0,1.2,1.4 | 0.5,1,2,3 |
2、結果及分析
2.1溫度場對材料性能的影響
圖3為不同溫度下BT14鈦合金應力-應變曲線。拉伸速度為1mm/min??梢钥闯?,隨著溫度的升高抗拉強度明顯下降、伸長率逐漸提高??估瓘姸扔?00℃時的489.3MPa降至650℃時的166.58MPa,下降幅度為65.96%。伸長率由500℃時的16.22%提高到650℃時的34.86%,提升幅度為115%。這是由于隨著溫度升高,原子擴散能力增強,位錯阻力降低,鈦合金強度降低、變形能力增強,呈現較為明顯的“材料高溫軟化”效果。

2.2溫度/超聲復合能場對材料性能的影響
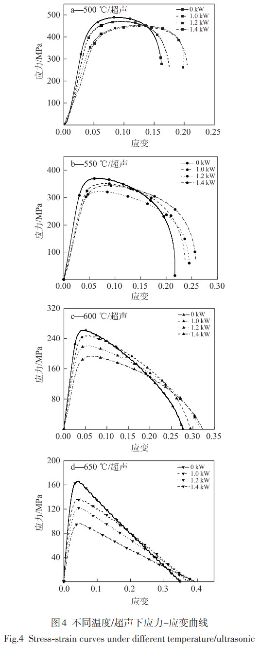
圖4為不同溫度/超聲復合能場下BT14鈦合金應力-應變曲線(拉伸速度為1mm/min)。在500℃較低溫度下,施加振動功率為1.0,1.2,1.4kW超聲后,材料抗拉強度分別降低了3.8%,7.6%,8.5%;而在650℃較高溫度下,抗拉強度分別降低了17.8%,26.7%,42.3%;隨著溫度升高,材料抗拉強度下降幅度呈上升趨勢。由圖4還可以看出,BT14鈦合金伸長率在500℃較低溫度下,施加超聲振動功率1.0,1.2,1.4kW后,材料伸長率分別提高了8.9%、22.5%、26.6%;而在650℃較高溫度下,伸長率分別提高了7.3%,11.8%,13.1%,隨著溫度升高,材料伸長率提高幅度呈下降趨勢。這是由于溫度/超聲復合能場拉伸過程,超聲帶來的振動及應力疊加效應,使材料激活能增大,原子擴散能力增強,位錯阻力降低,“材料高溫軟化”效果進一步增強,因此強度降低幅度較大。BT14鈦合金在500℃的伸長率較小,施加超聲振動后提高幅度較為明顯,而650℃的伸長率較大,施加超聲振動后提高幅度較小,但總體而言材料伸長率均有不同程度的提高。

2.3溫度/超聲/速度復合能場對材料性能影響
圖5為不同溫度/超聲/速度下對BT14鈦合金抗拉強度及伸長率的變化曲線??梢?,提高溫度、加大超聲振動功率、降低加載速度都可以明顯地降低材料抗拉強度。在高溫狀態下,加載速度對抗拉強度的影響較為敏感,在低溫下變化幅值不大。如500℃/1.4kW/3mm/min時的抗拉強度為482MPa,比0.5mm/min時的抗拉強度440.4MPa提高了9.4%;而在600℃/1.4kW/3mm/min時的抗拉強度為276MPa,比0.5mm/min時的抗拉強度170MPa提高了62.4%。這是由于溫度較低時,材料的加工硬化較為明顯,因此受加載速度的影響相對較小;而溫度較高時材料已經軟化,加載速度的影響就變得敏感,速度越快材料的加工硬化越明顯,因此抗拉強度下降的幅度也就越小。

由圖5還可以看出,溫度、超聲振動和加載速度也會影響BT14鈦合金的伸長率,但溫度占主導地位。在溫度較低時,加載速度對伸長率的影響大于超聲振動,但隨著溫度的升高,超聲振動的影響大于加載速度的影響。這是因為加載速度越小,材料在一定溫度條件下的時間越長,材料內部能量積累越大,材料軟化更加徹底,但隨著溫度的升高導致材料內部能量的不斷增大,從而使其影響逐漸減弱。
3、顯微組織分析
為了進一步研究溫度/超聲/速度復合能場對BT14鈦合金材料性能的影響機理,對典型拉伸試件進行了顯微組織觀察。對金相樣品進行了鑲嵌,打磨拋光至鏡面,使用體積比為1:3:87的HF:HNO3:H2O腐蝕液腐蝕15s后,用Olympus光學顯微鏡進行觀察。
圖6為不同溫度/超聲/速度下的BT14鈦合金的顯微組織。對比圖6a、b可知,隨著溫度的升高,β相向α相轉化,低溫時的纖維狀α相長大,并連在一起形成等軸狀α相,組織由雙態組織向等軸組織轉化,宏觀上表現為鈦合金在高溫條件下塑性增強,與實驗結果一致。對比圖6a、c可知,同等條件下施加超聲振動后α相及β相均轉化為體積更小且形狀更細碎的等軸狀,晶粒得到細化,從而提升了材料的塑性。對比圖6c、d可知,當拉伸速度為較大的3mm/min時,β相更為密集且晶粒尺寸也更大,纖維狀α相也更多;降低速度后,β相向α相轉化更為徹底,晶粒尺寸減小,從而使材料的塑性變形能力更強,這與實驗結果一致。

4、結論
1)在不同溫度/超聲/速度復合能場下對BT14鈦合金材料進行了拉伸實驗,結果表明,提升加熱溫度、增加超聲振動、降低加載速度可以減小材料抗拉強度、提高伸長率,進一步提升了材料塑性變形能力。
2)在影響BT14鈦合金材料拉伸性能因素中,加熱溫度占主導地位,超聲振動和拉伸速度的影響幅值相近。溫度較低時,拉伸速度對伸長率的影響較大;溫度較高時,超聲振動對伸長率的影響較大。同時也說明在高溫情況下,可通過施加超聲振動能場來減小拉伸速度的影響,實現在較高速度條件下材料成形。
3)對拉伸試件斷裂處進行顯微組織分析,結果表明,提高溫度可使α相增加,纖維狀α相轉變成等軸狀α相,組織由雙態組織向等軸組織轉化;施加超聲振動可以使晶粒尺寸減小,晶粒得到細化使塑性增強;降低加載速度可以使β相向α相的轉化更徹底。
5、參考文獻
[1]劉世鋒,宋璽,薛彤,等.鈦合金及鈦基復合材料在航空航天的應用和發展[J].航空材料學報,2020,40(3):77-94.
LIU Shifeng,SONG Xi,XUE Tong,et al. Application and de-velopment of titanium alloy and titanium matrix composites in aerospace field[J]. Journal of Aeronautical Materials,2020,40(3):77-94.(in Chinese)
[2]呂冬蘭.鈦合金在民用飛機上的應用及發展趨勢[J].世界有色金屬,2018(5):230-231.
L Donglan. Application and development trend of titanium al-loy in civil aircraft[J]. World Nonferrous Metals,2018(5):230-231.(in Chinese)
[3] YANG Xiaoming,DANG Liming,WANG Yaoqi,et al.Spring-back prediction of TC4 titanium alloy V- bending under hot stamping condition[J]. Journal of Central South University,2020,27(9):2578-2591.
[4]董曉鋒,張明玉,郭新,等.Ti-55511鈦合金高溫拉伸變形行及顯微組織演變[J].兵器材料科學與工程,2023,46(1):35-43.
DONG Xiaofeng,ZHANG Mingyu,GUO Xin,et al. High temperature tensile deformation behavior and microstructure evolu-tion of Ti-55511 titanium alloy[J]. Ordnance Material Science and Engineering,2023,46(1):35-43.(in Chinese)
[5]宗影影,單德彬,呂炎.熱壓縮Ti-4.5Al-3Mo-1V合金的流變應力行為[J].鍛壓技術,2005(3):50-52.
ZONG Yingying,SHAN Debin,L Yan. Flow stress behavior of Ti-4.5Al-3Mo-1V alloy during hot compressi on deformation[J].Forging& Stamping Technology,2005(3):50-52.(in Chinese)
[6]丁嘉健,劉家和,楊展銘,等.TC4鈦合金板材高溫熱拉伸性能的研究[J].科技創新與應用,2019,267(11):41-42.
DING Jiajian, LIU Jiahe, YANG Zhanming, et al. Study on high temperature thermal tensile properties of TC4 titanium al-loy sheet[J]. Technology Innovation and Application,2019,267(11):41-42.(in Chinese)
[7]謝洪志,劉廣鑫,彭皓云,等.Ti65鈦合金板材高溫力學性能及影響因素[J].兵器材料科學與工程,2022,45(2):26-29.XIE Hongzhi,LIU Guangxin,PENG Haoyun,et al. High tem-perature mechanical properties and influencing factors of Ti65 titanium alloy sheet[J]. Ordnance Material Science and Engi-neering,2022,45(2):26-29.(in Chinese)
[8]高鐵軍,王旭,劉少青,等.TA2鈦合金圓筒件超聲振動輔助拉深工藝研究[J].兵器材料科學與工程,2021,44(1):8-12.GAO Tiejun,WANG Xu,LIU Shaoqing,et al. Ultrasonic vibra-tion-assisted drawing process of TA2 titanium alloy cylindrical part[J]. Ordnance Material Science and Engineering,2021,44(1):8-12.(in Chinese)
[9] ZHAO Jian, LIU Zhanqiang. Investigations of ultrasonic fre-quency effects on surface deformation in rotary ultrasonic roll-er burnishing Ti-6Al-4V[J].Materials& Design,2016,107:238-249.
[10] GAO Tiejun,WANG Xu,LIU Shaoqing,et al. Effect of ultra-sonic vibration on mechanical properties and bulging perfor-mance of TA2 titanium alloy sheet[J]. Rare Metal Materials
and Engineering,2020,49(12):4010-4015.
[11]張禹森.TB6鈦合金航空模鍛件低倍粗晶的形成機理研究[D].秦皇島:燕山大學,2021.
ZHANG Yusen. Study on the formation mechanism of coarse grain in TB6 aviation die forging[D].Qinhuangdao:Yanshan University,2021.(in Chinese)
[12]蔡鋼.BT25鈦合金熱變形行為研究[D].貴陽:貴州大學,2015.
CAI Gang. Study on hot deformation behavior of BT25 titani-um alloy[D]. Guiyang:Guizhou University,2015.(in Chi-nese)
[13]楊曉明.TC4鈦合金冷模疊層熱沖壓工藝及回彈研究[D].北京:北京科技大學,2022.
YANG Xiaoming. Research on the forming and springback of TC4 titanium alloy the pile sheet hot stamping with cold die process[D]. Beijing: University of Science and Technology Beijing,2022.(in Chinese)
[14]張海龍.BT14鈦合金板材研制[D].西安:西安建筑科技大學,2013.
ZHANG Hailong. The research of BT14 titanium alloy plate[D].Xi'an:Xi'an University of Architecture and Technology,2013.(in Chinese)
[15]高鐵軍,聞祥捷,馮卓,等.鈦合金溫度/超聲復合能場輔助成形及應用[J].塑性工程學報,2024,31(4):219-226.
GAO Tiejun, WEN Xiangjie, FENG Zhuo,et al. Compound energy field with temperature and ultrasonic assisted forming process of titanium alloy and its applications[J]. Journal of Plasticity Engineering,2024,31(4):219-226.(in Chinese)
[16]曹寧,李金泉.Ti-6Al-4V動態力學性能與本構關系研究[J].工具技術,2023,57(8):37-41.
CAO Ning,LI Jinquan. Study on dynamic mechanical proper-ties and constitutive relationship of Ti-6Al-4V[J]. Tool Engi-neering,2023,57(8):37-41.(in Chinese)
(注,原文標題:溫度_超聲_速度對BT14鈦合金拉伸性能的影響_李偉杰)

